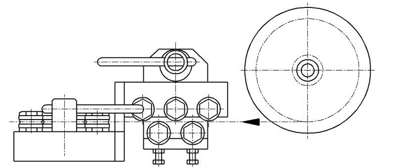
The straightening process, consisting of returning the wound material back into its original straight shape. The operation is carried out by the first straightening rollers.
The removal of any residual stresses in the steel. This operation is performed by the rollers located in the central part of the straightener.
The further straightening and destressing of the wire carried out by the last rollers on the straightener, generally placed at an angle of 90° compared to the angle of the ????rst rollers.
Often it is necessary to combine these three steps. That is the reason why the straightener uses 5, 7, 9, 11 or even 13 rollers placed in two planes.
The manufacturing precision of the roller has a major influence on the quality of the final product (wires) as well as on the service life of the rollers. It is therefore essential that the ground “V” groove on the outer ring is machined and positioned precisely relative to the internal geometry. WIB only produces straightener roller bearings produced in this fashion, while many other producers machine the outer wire guide groove after assembly
Grinding the profil on an assembled standard bearing is risky, as the uniformity and geometrical precision cannot be guaranteed. The service life of the roller is shortened and the quality of the final wire product suffers.
Among numerous applications using thread guides and straightening rollers, WIB has managed to make a name for itself in the field of specialized wire drawing companies, producing steel cables for the tire industry. The following machines use the same type of precision straightener rollers:
- Machine tools for fiberglass cables (lawn mowers)
- Machines for spring manufacturing
- Machines for metal wires
- Machines for spooling, un-spooling and rewinding
- Fine and high precision wire drawing
WIB is equipped with all the necessary tooling and equipment for the production of such bearings, as well as many years of application experience in improving bearing life, product quality, and lengthening maintenance intervals. Some of the products we have designed in the past are special designs offered exclusively to the OEM.
Examples of wire guides and straightening rollers
| DIMENSIONS | DESIGNATION | ANGLE OF CONTACT W | PROFILE SPECIFICATIONS | LIMITING SPEEDS | BASIC LOAD RATINGS | ABUTMENT DIMENSIONS | MASS | |||||||||
|---|---|---|---|---|---|---|---|---|---|---|---|---|---|---|---|---|
| d | D | B mm Inch | C | T | e mm | R max | ß | Oil | Grease | Contact seals | Dyn. CR kN | Stat. Cor kN | da min mm | ~ gr | ||
| 0 | 26 | 24 | 7 | A0KM00 | - | 6.29 | 2.1 | - | 90 | 36 | 30 | 20 | 3.28 | 1.36 | 10 | 25.3 |
| 3 | 10 | 4 | 4 | A300 | - | 0.61 | 0.26 | 0.1 | 90 | 48 | 40 | 26 | 0.644 | 0.229 | 4.2 | 1.6 |
| 10 | 4 | 4 | A302 | - | 0.7 | 0.31 | 0.1 | 90 | 48 | 40 | 26 | 0.644 | 0.229 | 4.2 | 1.4 | |
| 11 | 17 | 16 | AT3M00 | - | 0.6 | 0.26 | 0.1 | 90 | 48 | 40 | 26 | 0.991 | 0.457 | 4.2 | 7.8 | |
| 13 | 4 | 4 | A301 | - | 0.6 | 0.26 | 0.1 | 90 | 48 | 40 | 26 | 0.644 | 0.229 | 4.2 | 3.3 | |
| 13.2 | 6 | 7 | AKMST3ES00 | 20 | 5.96 | 1.41 | 2.05 | 120 | 48 | 40 | 26 | 1.01 | 0.44 | 4.2 | 3.3 | |
| 15 | 23 | 4 | A303 | - | 0.93 | 2 | - | 20 | 48 | 40 | 26 | 0.644 | 0.229 | 4.2 | 8 | |
| 4 | 12 | 4 | 4 | A404 | - | 0.914 | 0.35 | 0.4 | 80 | 43 | 36 | 24 | 0.712 | 0.272 | 4.8 | 2.45 |
| 13 | 5 | 5 | A401 | - | 0.6 | 0.27 | 0.1 | 90 | 45 | 38 | 24 | 1.3 | 0.486 | 5.6 | 3.2 | |
| 13 | 5 | 5 | A405 | - | 1.044 | 0.4 | 0.43 | 80 | 45 | 38 | 24 | 1.3 | 0.486 | 5.6 | 3.1 | |
| 13 | 5 | 5 | A406 | - | 0.8 | 0.36 | 0.1 | 90 | 45 | 38 | 24 | 1.3 | 0.486 | 5.6 | 3.2 | |
| 13 | 5 | 5 | A400 | - | 1.45 | 0.6 | 0.3 | 90 | 43 | 36 | 24 | 0.712 | 0.272 | 4.8 | 3.8 | |
| 13 | 5 | 5 | A407 | - | 0.95 | 0.25 | 0.15 | 120 | 45 | 38 | 24 | 1.3 | 0.486 | 5.6 | 3.2 | |
| 13 | 5 | 5 | A408 | - | 0.87 | 0.4 | 0.1 | 90 | 45 | 38 | 24 | 1.3 | 0.486 | 5.6 | 3.2 | |
| 13 | 5 | 5 | A409 | - | 0.7 | 0.35 | 0.1 | 60 | 45 | 38 | 24 | 1.3 | 0.486 | 5.6 | 3.1 | |
| 13 | 5 | 5 | AL400 | - | 1.044 | 0.4 | 0.43 | 80 | 45 | 38 | 24 | 1.3 | 0.486 | 5.6 | 3.2 | |
| 13 | 17 | 16 | AT4M00 | - | 0.6 | 0.26 | 0.1 | 90 | 45 | 38 | 24 | 2.01 | 0.97 | 5.6 | 10.4 | |
| 14 | 5.4 | 5 | A4M02 | - | 3 | 0.6 | 0.3 | 135 | 43 | 36 | 24 | 1.3 | 0.486 | 4.8 | 4.66 | |
| 16 | 5 | 5 | A402 | - | 1.33 | 0.54 | 0.5 | 90 | 43 | 36 | 22 | 1.88 | 0.681 | 6 | 5 | |
| 17 | 5 | 5 | A403 | - | 1 | 0.4 | 0.3 | 90 | 43 | 36 | 22 | 1.88 | 0.681 | 6 | 6 | |
| 18 | 5 | 5 | A410 | - | 2.08 | 1 | 0.1 | 90 | 43 | 36 | 22 | 1.88 | 0.681 | 6 | 6.2 | |
| 5 | 13 | 9 | 8 | AT5M05 | - | 1.5 | 0.71 | 0.1 | 90 | 45 | 38 | 24 | 2.01 | 0.97 | 6.6 | 6.5 |
| 16 | 5 | 5 | A500 | - | 2 | 0.56 | 0.1 | 120 | 43 | 36 | 22 | 1.88 | 0.681 | 7 | 4.6 | |
| 16 | 5 | 5 | A501 | - | 1 | 0.46 | 0.1 | 90 | 43 | 36 | 22 | 1.88 | 0.681 | 7 | 4.8 | |
| 16 | 5 | 5 | A506 | - | 1.47 | 0.65 | 0.2 | 90 | 43 | 36 | 22 | 1.88 | 0.681 | 7 | 5.54 | |
| 16 | 5 | 5 | A509 | - | 1.5 | 0.71 | 0.1 | 90 | 43 | 36 | 22 | 1.88 | 0.681 | 7 | 4.7 | |
| 16 | 5 | 5 | AL500 | - | 2.25 | 0.6 | 0.3 | 120 | 43 | 36 | 22 | 1.88 | 0.681 | 7 | 5.54 | |
| 16 | 5 | 5 | AL501 | - | 1.39 | 0.55 | 0.75 | 60 | 43 | 36 | 22 | 1.88 | 0.681 | 7 | 4.9 | |
| 16 | 5 | 5 | AL502 | - | 1.39 | 0.55 | 0.75 | 60 | 43 | 36 | 22 | 1.88 | 0.681 | 7 | 4.9 | |
| 16 | 5 | 5 | AL503 | - | 1.39 | 0.55 | 0.75 | 60 | 43 | 36 | 22 | 1.88 | 0.681 | 7 | 4.9 | |
| 16 | 10 | 10 | AT500 | - | 1.8 | 0.86 | 0.1 | 90 | 43 | 36 | 22 | 2.83 | 1.37 | 7 | 9.4 | |
| 16 | 17 | 16 | AT5M00 | - | 1 | 0.46 | 0.1 | 90 | 43 | 36 | 22 | 2.83 | 1.37 | 7 | 14.7 | |
| 16 | 17 | 16 | AT5M01 | - | 2.08 | 1 | 0.1 | 90 | 43 | 36 | 22 | 2.83 | 1.37 | 7 | 13.7 | |
| 16 | 17 | 16 | AT5M04 | - | 1.8 | 0.86 | 0.1 | 90 | 43 | 36 | 22 | 2.83 | 1.37 | 7 | 13.7 | |
| 17 | 6 | 6 | A508 | - | 1 | 0.46 | 0.1 | 90 | 41 | 33 | 22 | 1.48 | 0.618 | 6.5 | 6.4 | |
| 17 | 8 | 7.5 | AT5M02 | 20 | 5.3 | 1.5 | - | 100 | 45 | 38 | 24 | 2.06 | 0.941 | 6.6 | 8.4 | |
| 17 | 8 | 7.5 | AT5M03 | 20 | 4.43 | 1.44 | 0.5 | 110 | 45 | 38 | 24 | 2.06 | 0.941 | 6.6 | 8.4 | |
| 19 | 6 | 6 | A502 | - | 1 | 0.46 | 0.1 | 90 | 38 | 32 | 22 | 2.46 | 1.05 | 7 | 8.8 | |
| 19 | 6 | 6 | A510 | - | 2 | 0.56 | 0.1 | 120 | 38 | 32 | 22 | 2.46 | 1.05 | 7 | 8.6 | |
| 19 | 6 | 6 | A511 | - | 1.5 | 0.71 | 0.1 | 90 | 38 | 32 | 22 | 2.46 | 1.05 | 7 | 8.4 | |
| 21 | 6 | 6 | A507 | - | 2.34 | 0.965 | 0.5 | 90 | 38 | 32 | 22 | 2.46 | 1.05 | 7 | 11 | |
| 5.5 | 16 | 17 | 16 | AT5,5M00 | - | 2.08 | 1 | 0.1 | 90 | 43 | 36 | 22 | 2.83 | 1.37 | 7.3 | 13.1 |
| 16.5 | 17 | 16 | AT5,5M01 | - | 2.48 | 1.2 | 0.1 | 90 | 43 | 36 | 22 | 2.83 | 1.37 | 7.3 | 13.1 | |
| 6 | 19 | 6 | 6 | A600 | - | 1 | 0.46 | 0.1 | 90 | 38 | 32 | 22 | 2.46 | 1.05 | 8 | 8.2 |
| 19 | 6 | 6 | A601 | - | 2 | 0.56 | 0.1 | 120 | 38 | 32 | 22 | 2.46 | 1.05 | 8 | 8 | |
| 20 | 10 | 10 | A602 | - | 4.38 | 1.235 | 0.2 | 120 | 38 | 32 | 22 | 2.46 | 1.05 | 8 | 15 | |
| 21 | 6 | 6 | A603 | - | 2.34 | 1.045 | 0.5 | 90 | 38 | 32 | 22 | 2.46 | 1.05 | 8 | 10.5 | |
| 7 | 22 | 7 | 7 | A702 | - | 2.6 | 0.7 | 0.3 | 120 | 36 | 30 | 20 | 3.28 | 1.36 | 9 | 12.8 |
| 22 | 7 | 7 | A703 | - | 1.6 | 0.7 | 0.3 | 90 | 36 | 30 | 20 | 3.28 | 1.36 | 9 | 12.8 | |
| 22 | 7 | 7 | A704 | - | 1.5 | 0.7 | 0.15 | 90 | 36 | 30 | 20 | 3.28 | 1.36 | 9 | 12.8 | |
| 26 | 7 | 7 | A705 | - | 3.33 | 1.5 | 0.5 | 90 | 36 | 30 | 20 | 3.28 | 1.36 | 9 | 12.8 | |
| 8 | 19 | 6 | 6 | A800 | - | 1.65 | 0.8 | 0.1 | 90 | 38 | 32 | 22 | 2.46 | 1.05 | 10 | 6.8 |
| 22 | 7 | 7 | A801 | - | 1.5 | 0.7 | 0.12 | 90 | 36 | 30 | 20 | 3.28 | 1.36 | 10 | 12 | |
| 22 | 7 | 7 | A802 | - | 0.93 | 0.42 | 0.2 | 90 | 36 | 30 | 20 | 3.28 | 1.36 | 10 | 10.7 | |
| 22 | 7 | 7 | A803 | - | 2.5 | 0.705 | 0.1 | 120 | 36 | 30 | 20 | 3.28 | 1.36 | 10 | 12 | |
| 22 | 7 | 7 | A808 | - | 1.7 | 0.81 | 0.1 | 90 | 36 | 30 | 20 | 3.28 | 1.36 | 10 | 12 | |
| 22 | 7 | 7 | A809 | - | 2 | 0.9 | 0.2 | 90 | 36 | 30 | 20 | 3.28 | 1.36 | 10 | 12 | |
| 22 | 7 | 7 | A810 | - | 1.5 | 0.71 | 0.1 | 90 | 36 | 30 | 20 | 3.28 | 1.36 | 10 | 12 | |
| 22 | 7.4 | 7 | A8M00 | - | 1.97 | 0.9 | 0.2 | 90 | 38 | 32 | 22 | 2.46 | 1.05 | 10 | 13.4 | |
| 23 | 7 | 7 | A805 | - | 1.7 | 0.73 | 0.3 | 90 | 36 | 30 | 20 | 3.28 | 1.36 | 10 | 13.5 | |
| 26 | 7 | 7 | A806 | - | 3.34 | 1.545 | 0.5 | 90 | 36 | 30 | 20 | 3.28 | 1.36 | 10 | 19.2 | |
| 10 | 29.5 | 8 | 8 | A1007 | - | 5.04 | 1.245 | 1.35 | 120 | 34 | 28 | 18 | 4.58 | 1.97 | 12 | 27 |
| 30 | 8 | 8 | A1000 | - | 5 | 1.41 | 0.2 | 120 | 34 | 28 | 18 | 4.58 | 1.97 | 12 | 28.3 | |
| 30 | 8 | 8 | A1001 | - | 3.3 | 1.565 | 0.5 | 90 | 34 | 28 | 18 | 4.58 | 1.97 | 12 | 30.7 | |
| 30 | 8 | 8 | A1006 | - | 6 | 1.49 | 1.55 | 120 | 34 | 28 | 18 | 4.58 | 1.97 | 12 | 27 | |
| 30 | 8 | 8 | A1008 | - | 4.55 | 1.5 | 0.5 | 110 | 34 | 28 | 18 | 4.58 | 1.97 | 12 | 28.3 | |
| 30 | 9 | 9 | A1009 | - | 5.33 | 1.5 | 0.3 | 120 | 32 | 26 | 17 | 5.97 | 2.63 | 14 | 31 | |
| 32 | 9 | 9 | A1005 | - | 5.13 | 2 | 0.5 | 100 | 32 | 26 | 15 | 4.33 | 2.25 | 12 | 38.5 | |
| 32 | 14 | 14 | AT10U00 | 25 | 4.24 | 1.63 | 0.5 | 100 | 32 | 26 | 15 | 6.54 | 4.21 | 12 | 56.8 | |
| 34 | 9 | 9 | A1003 | - | 6.44 | 1.55 | 2 | 120 | 32 | 26 | 17 | 5.97 | 2.63 | 14 | 40.1 | |
| 34 | 9 | 9 | A1004 | - | 6.55 | 1.55 | 2.2 | 120 | 32 | 26 | 17 | 5.97 | 2.63 | 14 | 41 | |
| 35 | 9 | 9 | A1002 | - | 4.3 | 2.065 | 0.2 | 90 | 32 | 26 | 17 | 5.97 | 2.63 | 14 | 46.2 | |
| 12 | 32 | 10 | 10 | A1200 | - | 0.9 | 0.5 | 0.2 | 70 | 30 | 24 | 15 | 6.89 | 3.09 | 16 | 38 |
| 15 | 35 | 11 | 11 | A1502 | - | 3.6 | 1 | 0.3 | 120 | 26 | 20 | 13 | 7.73 | 3.76 | 19 | 42 |
| 35 | 11 | 11 | A1503 | - | 5.33 | 1.5 | 0.3 | 120 | 26 | 20 | 13 | 7.73 | 3.76 | 19 | 42 | |
| 39 | 9 | 9 | A15SD00 | - | 7.83 | 3.5 | 1 | 90 | 30 | 24 | 14 | 5.59 | 2.84 | 17 | 42.6 | |
| 40 | 11 | 11 | A1501 | - | 4.65 | 1.8 | 0.5 | 100 | 28 | 22 | 13 | 5.97 | 2.63 | 17 | 73.9 | |
| 47 | 11 | 11 | A1500 | - | 6 | 2.915 | 0.2 | 90 | 26 | 20 | 13 | 7.73 | 3.76 | 19 | 104 | |